Werkstoff: Grauguss EN-GJL-250, phosphatiert.
Keilriemenscheiben für Taper-Spannbuchsen, zur schnellen und einfachen Montage. Die Taper-Spannbuchse muss separat bestellt werden. In Anlehnung an DIN 2211 bzw. DIN 2217 bzw. ISO 4183, zur Verwendung mit klassischen Keilriemen DIN 2215 und Schmalkeilriemen DIN 7753-1 / ISO 4184. Auch verwendbar für Keilriemen 3V/9N nach ARPM/MPTA. Der Nenndurchmesser D1 ist der Wirkdurchmesser.


Im Zuge der Sortimentserweiterung dieser Produktgruppe wurden neue Teilenummern vergeben. Hier erhalten Sie eine vollständige Übersicht der bisherigen und neuen Artikelnummern:

Übersicht Nachfolger Taper-Keilriemenscheiben

Service:

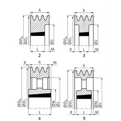
Katalogseite

Zusätzliche Informationen

Montageanleitung



Die angebotenen CAD-Daten, Abbildungen und technischen Zeichnungen werden mit größtmöglicher Sorgfalt erstellt.
Dennoch kann keine Gewährleistung für die Fehlerfreiheit und Genauigkeit dieser Daten übernommen werden.

( freibleibend aus Lagervorrat / kurzfristig lieferbar / Lieferzeit nach Vereinbarung. Bitte fragen Sie nach. )
Artikel Menge Bisherige ArtikelnummerRillen-AnzahlNenn-Ø D1
[mm]
Ø DA
[mm]
AusführungTaper-Buchse
[Nr.]
Bohrung
[mm]
E
[mm]
h
[mm]
J
[mm]
K
[mm]
L
[mm]
M
[mm]
N
[mm]
Gewicht ca.
[kg]
151-Z-3-63
151306003636781108 9 - 28 -40401822--0,50
151-Z-3-67
3677181108 9 - 28 -40421822--0,50
151-Z-3-71
151307003717581108 9 - 28 -40421822--0,70
151-Z-3-75
3757981210 10 - 32 -40511525--0,60
151-Z-3-80
151308003808481210 10 - 32 -40511525--0,50
151-Z-3-85
3858981610 12 - 42 -40601525--0,80
151-Z-3-90
151309003909481610 12 - 42 -40611525--0,85
151-Z-3-95
3959981610 12 - 42 -40661525--1,20
151-Z-3-100
15131000310010481610 12 - 42 -40711525--1,20
151-Z-3-106
310611081610 12 - 42 -40761525--1,20
151-Z-3-112
15131100311211682012 12 - 50 -4083832--1,40
151-Z-3-118
311812282012 12 - 50 -4090832--1,50
151-Z-3-125
15131200312512922012 12 - 50 -4096-328-2,00
151-Z-3-132
313213622012 12 - 50 -40103-328-2,00
151-Z-3-140
15131400314014422012 12 - 50 -40111-328-2,70
151-Z-3-150
315015422012 12 - 50 -40121-328-3,00
151-Z-3-160
15131600316016422012 12 - 50 -40131-328-3,80
151-Z-3-170
317017432012 12 - 50 -401414324-4,50
151-Z-3-180
15131800318018462012 12 - 50 74015143241063,40
151-Z-3-190
319019462012 12 - 50 104016143241123,50
151-Z-3-200
15132000320020462012 12 - 50 104017143241124,00
151-Z-3-224
15132200322422862012 12 - 50 124019543241125,00
151-Z-3-250
15132500325025452012 12 - 50 -4022143241125,00
151-Z-3-280
15132800328028442517 15 - 65 -402512,5452,51247,50
151-Z-3-315
15133100331531942517 15 - 65 -402862,5452,51248,20
151-Z-3-355
335535942517 15 - 65 -403262,5452,512411,00
151-Z-3-400
340040442517 15 - 65 -403712,5452,512411,20
151-Z-3-450
345045442517 15 - 65 -404212,5452,512413,10
151-Z-3-500
350050442517 15 - 65 -404712,5452,512415,00
151-Z-3-630
363063443020 20 - 75 -406015,5515,515018,00
151-Z-3-800
380080443020 20 - 75 -407715,5515,5146,0041,5


zur Gruppe


Impressum AGB Hilfe Datenschutzerklärung Index


MÄDLER on Facebook Facebook MÄDLER on Youtube YouTube MÄDLER on Twitter Twitter MÄDLER on Instagram Instagram MÄDLER on Xingk Xing MÄDLER on Linkedin LinkedIn