Werkstoff: Grauguss EN-GJL250, phosphatiert.

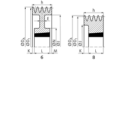
Keilriemenscheiben für Taper-Spannbuchsen, zur schnellen und einfachen Montage. Die Taper-Spannbuchse muss separat bestellt werden. In Anlehnung an DIN 2211 bzw. DIN 2217 bzw. ISO 4183, zur Verwendung mit klassischen Keilriemen DIN 2215 und Schmalkeilriemen DIN 7753-1 / ISO 4184. Auch verwendbar für Keilriemen 3V/9N nach ARPM/MPTA. Der Nenndurchmesser D1 ist der Wirkdurchmesser.

In diesem Youtube-Video zeigen wir Ihnen die Montage und Demontage von Taper-Spannbuchsen:

Film (3,5 Minuten)

Service:

Katalogseite

Zusätzliche Informationen

Montageanleitung



Die angebotenen CAD-Daten, Abbildungen und technischen Zeichnungen werden mit größtmöglicher Sorgfalt erstellt.
Dennoch kann keine Gewährleistung für die Fehlerfreiheit und Genauigkeit dieser Daten übernommen werden.

( freibleibend aus Lagervorrat / kurzfristig lieferbar / Lieferzeit nach Vereinbarung. Bitte fragen Sie nach. )
Artikel Menge Rillen-AnzahlNenn-Ø D1
[mm]
Ø DA
[mm]
AusführungTaper-Buchse
[Nr.]
Bohrung
[mm]
E
[mm]
h
[mm]
J
[mm]
K
[mm]
L
[mm]
M
[mm]
N
[mm]
Gewicht ca.
[kg]
151-Z-4-80
4808481210 10 - 32 -52512725--1,0
151-Z-4-85
4858981610 12 - 42 -52602725--1,0
151-Z-4-90
4909481610 12 - 42 -52612725--1,2
151-Z-4-95
4959981610 12 - 42 -52662725--1,2
151-Z-4-100
410010481610 12 - 42 -52712725--1,4
151-Z-4-106
410611081610 12 - 42 -52762725--1,6
151-Z-4-112
411211682012 12 - 50 -52832032--1,7
151-Z-4-118
411812282012 12 - 50 -52902032--1,8
151-Z-4-125
412512922012 12 - 50 -5296-3220-2,0
151-Z-4-132
413213622012 12 - 50 -52103-3220-2,5
151-Z-4-140
414014422012 12 - 50 -52111-3220-3,0
151-Z-4-150
415015422517 15 - 65 -52121-457-3,8
151-Z-4-160
416016422517 15 - 65 -52131-457-4,5
151-Z-4-170
417017422517 15 - 65 -52141-457-5,3
151-Z-4-180
418018422517 15 - 65 -52151-457-6,4
151-Z-4-190
419019432517 15 - 65 -521613,5453,5-4,8
151-Z-4-200
420020462517 15 - 65 8521713,5453,51245,5
151-Z-4-224
422422862517 15 - 65 14521953,5453,51246,6
151-Z-4-250
425025462517 15 - 65 12522213,5453,51247,3
151-Z-4-280
428028462517 15 - 65 14522513,5453,512410,0
151-Z-4-315
431531952517 15 - 65 -522863,5453,51249,7
151-Z-4-355
435535952517 15 - 65 -523263,5453,512412,4
151-Z-4-400
440040452517 15 - 65 -523713,5453,512413,2
151-Z-4-450
445045453020 20 - 75 -524210,5510,514616,0
151-Z-4-500
450050453020 20 - 75 -524710,5510,514619,5
151-Z-4-630
463063443030 30 - 75 -5260112761214625,0
151-Z-4-800
480080443030 30 - 75 -5277112761214642,5


zur Gruppe


Impressum AGB Hilfe Datenschutzerklärung Index


MÄDLER on Facebook Facebook MÄDLER on Youtube YouTube MÄDLER on Twitter Twitter MÄDLER on Instagram Instagram MÄDLER on Xingk Xing MÄDLER on Linkedin LinkedIn