Werkstoff: Grauguss EN-GJL-250, phosphatiert.
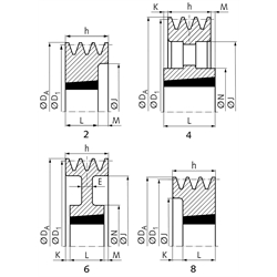
Keilriemenscheiben für Taper-Spannbuchsen, zur schnellen und einfachen Montage. Die Taper-Spannbuchse muss separat bestellt werden. In Anlehnung an DIN 2211 bzw. DIN 2217 bzw. ISO 4183, zur Verwendung mit klassischen Keilriemen DIN 2215 und Schmalkeilriemen DIN 7753-1 / ISO 4184. Der Nenndurchmesser D1 ist der Wirkdurchmesser.

1) Ø 71-85mm nicht für Keilriemen SPA.


Im Zuge der Sortimentserweiterung dieser Produktgruppe wurden neue Teilenummern vergeben. Hier erhalten Sie eine vollständige Übersicht der bisherigen und neuen Artikelnummern:

Übersicht Nachfolger Taper-Keilriemenscheiben

Service:

Katalogseite

Zusätzliche Informationen

Montageanleitung



Die angebotenen CAD-Daten, Abbildungen und technischen Zeichnungen werden mit größtmöglicher Sorgfalt erstellt.
Dennoch kann keine Gewährleistung für die Fehlerfreiheit und Genauigkeit dieser Daten übernommen werden.

( freibleibend aus Lagervorrat / kurzfristig lieferbar / Lieferzeit nach Vereinbarung. Bitte fragen Sie nach. )
Artikel Menge Bisherige ArtikelnummerRillen-AnzahlNenn-Ø D1
[mm]
Ø DA
[mm]
AusführungTaper-Buchse
[Nr.]
Bohrung
[mm]
E
[mm]
h
[mm]
J
[mm]
K
[mm]
L
[mm]
M
[mm]
N
[mm]
Gewicht ca.
[kg]
151-A-3-71
371 1)76,581108 9 - 28 -50402822--0,80
151-A-3-75
375 1)80,581108 9 - 28 -50442822--1,00
151-A-3-80
15330800380 1)85,581210 10 - 32 -50502525--0,84
151-A-3-85
385 1)90,581210 10 - 32 -50552525--0,99
151-A-3-90
1533090039095,581610 12 - 42 -50592525--1,03
151-A-3-95
395100,581610 12 - 42 -50632525--1,18
151-A-3-100
153310003100105,521610 12 - 42 -5066-2525-1,30
151-A-3-106
3106111,521610 12 - 42 -5072-2525-1,55
151-A-3-112
153311003112117,582012 12 - 50 -50781832--1,54
151-A-3-118
3118123,522012 12 - 50 -5084-3218-1,80
151-A-3-125
153312003125130,522012 12 - 50 -5091-3218-2,22
151-A-3-132
3132137,522012 12 - 50 -5098-3218-2,52
151-A-3-140
153314003140145,582517 15 - 65 -50106545--2,88
151-A-3-150
3150155,582517 15 - 65 -50116545--3,60
151-A-3-160
153316003160165,582517 15 - 65 -50125545--4,50
151-A-3-170
3170175,582517 15 - 65 -50135545--5,11
151-A-3-180
153318003180185,582517 15 - 65 -50146545--6,03
151-A-3-190
3190195,582517 15 - 65 -50156545--6,94
151-A-3-200
153320003200205,562517 15 - 65 20501652,5452,51236,12
151-A-3-212
3212217,562517 15 - 65 20501772,5452,51236,71
151-A-3-224
153322003224229,562517 15 - 65 20501892,5452,51247,50
151-A-3-236
3236241,562517 15 - 65 20502022,5452,51246,98
151-A-3-250
153325003250255,562517 15 - 65 20502152,5452,51247,33
151-A-3-280
153328003280285,562517 15 - 65 20502452,5452,51247,56
151-A-3-300
3300305,543020 20 - 75 -502650,5510,51469,78
151-A-3-315
153331003315320,543020 20 - 75 -502800,5510,515910,1
151-A-3-355
3355360,543020 20 - 75 -503200,5510,515910,7
151-A-3-400
3400405,5133020 20 - 75 -50365-51115914,1
151-A-3-450
3450455,5133020 20 - 75 -50415-51115918,6
151-A-3-500
3500505,5133020 20 - 75 -50465-51115919,5
151-A-3-560
3560565,5133020 20 - 75 -50525-51115022,1
151-A-3-630
3630635,5133020 20 - 75 -50595-51115024,8
151-A-3-800
3800805,543535 30 - 90 -5076519,58919,517539,2
151-A-3-1000
310001005,543535 30 - 90 -5096519,58919,517558,0


zur Gruppe


Impressum AGB Hilfe Datenschutzerklärung Index


MÄDLER on Facebook Facebook MÄDLER on Youtube YouTube MÄDLER on Twitter Twitter MÄDLER on Instagram Instagram MÄDLER on Xingk Xing MÄDLER on Linkedin LinkedIn