Werkstoff: Grauguss EN-GJL-250, phosphatiert.
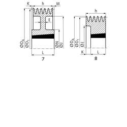
Keilriemenscheiben für Taper-Spannbuchsen, zur schnellen und einfachen Montage. Die Taper-Spannbuchse muss separat bestellt werden. In Anlehnung an DIN 2211 bzw. DIN 2217 bzw. ISO 4183, zur Verwendung mit klassischen Keilriemen DIN 2215 und Schmalkeilriemen DIN 7753-1 / ISO 4184. Der Nenndurchmesser D1 ist der Wirkdurchmesser.

Service:

Katalogseite

Zusätzliche Informationen

Montageanleitung



Die angebotenen CAD-Daten, Abbildungen und technischen Zeichnungen werden mit größtmöglicher Sorgfalt erstellt.
Dennoch kann keine Gewährleistung für die Fehlerfreiheit und Genauigkeit dieser Daten übernommen werden.

( freibleibend aus Lagervorrat / kurzfristig lieferbar / Lieferzeit nach Vereinbarung. Bitte fragen Sie nach. )
Artikel Menge Rillen-AnzahlNenn-Ø D1
[mm]
Ø DA
[mm]
AusführungTaper-Buchse
[Nr.]
Bohrung
[mm]
E
[mm]
h
[mm]
J
[mm]
K
[mm]
L
[mm]
M
[mm]
N
[mm]
Gewicht ca.
[kg]
151-A-5-100
5100105,521615 12 - 42 -8066-3842-2,06
151-A-5-106
5106111,582012 12 - 50 -80724832--2,08
151-A-5-112
5112117,582012 12 - 50 -80784832--2,19
151-A-5-118
5118123,522012 12 - 50 -8084-3248-2,62
151-A-5-125
5125130,532012 12 - 50 -8091243224-3,08
151-A-5-132
5132137,532517 15 - 65 -809817,54517,5-3,25
151-A-5-140
5140145,532517 15 - 65 -8010617,54517,5-3,8
151-A-5-150
5150155,532517 15 - 65 -8011617,54517,5-4,6
151-A-5-160
5160165,532517 15 - 65 -8012517,54517,5-5,57
151-A-5-170
5170175,532517 15 - 65 -8013517,54517,5-6,43
151-A-5-180
5180185,533020 20 - 75 -8014614,55114,5-6,72
151-A-5-190
5190195,523020 20 - 75 -80156-5129-7,65
151-A-5-200
5200205,533020 20 - 75 -8016514,55114,5-9,0
151-A-5-212
5212217,523020 20 - 75 -80177-5129-10,58
151-A-5-224
5224229,523020 20 - 75 -80189-5129-12,07
151-A-5-236
5236241,523020 20 - 75 -80202-5129-13,44
151-A-5-250
5250255,563020 20 - 75 208021514,55114,515910,5
151-A-5-280
5280285,573535 30 - 90 25802454,5894,517517,26
151-A-5-300
5300305,573535 30 - 90 25802654,5894,517518,06
151-A-5-315
5315320,573535 30 - 90 25802804,5894,517517,6
151-A-5-355
5355360,543535 30 - 90 -803204,5894,517521,04
151-A-5-400
5400405,543535 30 - 90 -803654,5894,517523,64
151-A-5-450
5450455,543535 30 - 90 -804154,5894,517530,0
151-A-5-500
5500505,543535 30 - 90 -804654,5894,517534,5
151-A-5-560
5560565,543535 30 - 90 -805254,5894,517538,0
151-A-5-630
5630635,543535 30 - 90 -805954,5894,517544,0
151-A-5-800
5800805,544040 40 - 100 -80765111021121050,0
151-A-5-1000
510001005,544545 55 - 110 -80965171141724275,5


zur Gruppe


Impressum AGB Hilfe Datenschutzerklärung Index


MÄDLER on Facebook Facebook MÄDLER on Youtube YouTube MÄDLER on Twitter Twitter MÄDLER on Instagram Instagram MÄDLER on Xingk Xing MÄDLER on Linkedin LinkedIn