Werkstoff: Grauguss EN-GJL-250, phosphatiert.
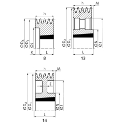
Keilriemenscheiben für Taper-Spannbuchsen, zur schnellen und einfachen Montage. Die Taper-Spannbuchse muss separat bestellt werden. In Anlehnung an DIN 2211 bzw. DIN 2217 bzw. ISO 4183, zur Verwendung mit klassischen Keilriemen DIN 2215 und Schmalkeilriemen DIN 7753-1 / ISO 4184. Auch verwendbar für Keilriemen 5V/15N nach ARPM/MPTA. Der Nenndurchmesser D1 ist der Wirkdurchmesser.

1) Ø 100mm nicht für Keilriemen SPB, XPP und 5V/15N.
2) Ø 112-132mm nicht für Keilriemen SPB und 5V/15N.

Service:

Katalogseite

Zusätzliche Informationen

Montageanleitung



Die angebotenen CAD-Daten, Abbildungen und technischen Zeichnungen werden mit größtmöglicher Sorgfalt erstellt.
Dennoch kann keine Gewährleistung für die Fehlerfreiheit und Genauigkeit dieser Daten übernommen werden.

( freibleibend aus Lagervorrat / kurzfristig lieferbar / Lieferzeit nach Vereinbarung. Bitte fragen Sie nach. )
Artikel Menge Rillen-AnzahlNenn-Ø D1
[mm]
Ø DA
[mm]
AusführungTaper-Buchse
[Nr.]
Bohrung
[mm]
E
[mm]
h
[mm]
J
[mm]
K
[mm]
L
[mm]
M
[mm]
N
[mm]
Gewicht ca.
[kg]
151-B-4-100
4100 1)11781615 12 - 42 -82604438--2,30
151-B-4-112
4112 2)11982012 12 - 42 -82725032--2,55
151-B-4-118
4118 2)12581610 12 - 42 -82755725--3,20
151-B-4-125
4125 2)13232012 12 - 50 -8282253225-3,2
151-B-4-132
4132 2)13932012 12 - 50 -8289253225-3,3
151-B-4-140
414014732517 15 - 65 -8210018,54518,5-3,8
151-B-4-150
415015732517 15 - 65 -8210718,54518,5-4,8
151-B-4-160
416016732517 15 - 65 -8211718,54518,5-5,7
151-B-4-170
417017732517 15 - 65 -8212718,54518,5-5,6
151-B-4-180
418018732517 15 - 65 -8213718,54518,5-7,4
151-B-4-190
419019732517 15 - 65 -8214718,54518,5-8,6
151-B-4-200
420020733020 20 - 75 -8215715,55115,5-9,2
151-B-4-212
421221933020 20 - 75 -8216915,55115,5-10,8
151-B-4-224
422423133020 20 - 75 -8218115,55115,5-12,4
151-B-4-236
423624333020 20 - 75 -8219315,55115,5-14,0
151-B-4-250
425025763020 20 - 75 258220715,55115,514412,9
151-B-4-280
428028763020 20 - 75 258223715,55115,514412,8
151-B-4-300
4300307143535 30 - 90 2582257-89717519,5
151-B-4-315
431532273535 30 - 90 25822723,5893,517522,0
151-B-4-335
433534273535 30 - 90 25822923,5893,517524,4
151-B-4-355
435536273535 30 - 90 25823123,5893,517524,0
151-B-4-400
440040743535 30 - 90 -823573,5893,517527,2
151-B-4-450
4450457133535 30 - 90 -82407-89717533,0
151-B-4-500
4500507133535 30 - 90 -82457-89717533,0
151-B-4-560
4560567133535 30 - 90 -82517-89717539,7
151-B-4-630
4630637133535 30 - 90 -82587-89717546,0
151-B-4-710
471071743535 30 - 90 -826643,5893,517550,2
151-B-4-800
480080744040 40 - 100 -82754101021021068,0
151-B-4-900
490090744040 40 - 100 -82854101021021067,0
151-B-4-1000
41000100744040 40 - 100 -82954101021621098,5
151-B-4-1250
41250125744545 55 - 110 -8212041611416210130,0


zur Gruppe


Impressum AGB Hilfe Datenschutzerklärung Index


MÄDLER on Facebook Facebook MÄDLER on Youtube YouTube MÄDLER on Twitter Twitter MÄDLER on Instagram Instagram MÄDLER on Xingk Xing MÄDLER on Linkedin LinkedIn