Werkstoff: Grauguss EN-GJL-250, phosphatiert.
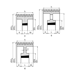
Keilriemenscheiben für Taper-Spannbuchsen, zur schnellen und einfachen Montage. Die Taper-Spannbuchse muss separat bestellt werden. In Anlehnung an DIN 2211 bzw. DIN 2217 bzw. ISO 4183, zur Verwendung mit klassischen Keilriemen DIN 2215 und Schmalkeilriemen DIN 7753-1 / ISO 4184. Der Nenndurchmesser D1 ist der Wirkdurchmesser.

Service:

Katalogseite

Zusätzliche Informationen

Montageanleitung



Die angebotenen CAD-Daten, Abbildungen und technischen Zeichnungen werden mit größtmöglicher Sorgfalt erstellt.
Dennoch kann keine Gewährleistung für die Fehlerfreiheit und Genauigkeit dieser Daten übernommen werden.

( freibleibend aus Lagervorrat / kurzfristig lieferbar / Lieferzeit nach Vereinbarung. Bitte fragen Sie nach. )
Artikel Menge Rillen-AnzahlNenn-Ø D1
[mm]
Ø DA
[mm]
AusführungTaper-Buchse
[Nr.]
Bohrung
[mm]
E
[mm]
h
[mm]
J
[mm]
K
[mm]
L
[mm]
M
[mm]
N
[mm]
Gewicht ca.
[kg]
151-C-10-224
10224233,634040 40 - 100 -2641708110281-25,8
151-C-10-250
10250259,634040 40 - 100 -2641948110281-35
151-C-10-280
10280289,634040 40 - 100 -2642248110281-47
151-C-10-300
10300309,634545 55 - 110 -2642447511475-52,5
151-C-10-315
10315324,634545 55 - 110 -2642597511475-61
151-C-10-355
10355364,634545 55 - 110 -2642997511475-78
151-C-10-375
10375384,634545 55 - 110 -2643167511475-90
151-C-10-400
10400409,665050 70 - 125 7026434468,512768,526795
151-C-10-450
10450459,665050 70 - 125 4026439468,512768,526796,5
151-C-10-500
10500509,665050 70 - 125 4026444468,512768,526798
151-C-10-560
10560569,655050 70 - 125 -26450468,512768,5267110
151-C-10-630
10630639,655050 70 - 125 -26457468,512768,5267123
151-C-10-710
10710719,655050 70 - 125 -26465468,512768,5267142
151-C-10-800
10800809,655050 70 - 125 -26473768,512768,5267163,5
151-C-10-1000
1010001009,655050 70 - 125 -26493768,512768,5267245
151-C-10-1250
1012501259,655050 70 - 125 -264118768,512768,5267310


zur Gruppe


Impressum AGB Hilfe Datenschutzerklärung Index


MÄDLER on Facebook Facebook MÄDLER on Youtube YouTube MÄDLER on Twitter Twitter MÄDLER on Instagram Instagram MÄDLER on Xingk Xing MÄDLER on Linkedin LinkedIn